中超最新积分战报:上海海港狂轰3球,深圳惨遭逆转,武汉三镇超越浙江
发表时间:2025-06-19 01:32:42 浏览:121
中超进行了2场比赛,一场是上海海港与河南队的补赛,另一场则是深圳与武汉三镇的比赛。上海海港此役去到客场挑战河南队,踢得很顺利。在第32分钟上海海港就取得了进球。19岁的李新翔帮助上海海港取得领先。随后,19岁的蒯纪闻助攻加布里埃尔进球扩大比分。随后莱昂纳多也进球了。半场上海海港就取得了3球的优势,早早杀死比赛悬念。

虽然阿奇姆彭下半场为上海海港扳回一球,但也无济于事。冯劲在最后阶段被罚下导致上海海港少一人作战。河南队也没能利用人数优势继续进球。最终的比分定格为3-1,上海海港拿下比赛。河南队全场20次射门,比上海海港多了6次,但射门质量比较差,只有3次射正。

深圳新鹏城则在主场翻车了,被武汉三镇逆转了。这场比赛深圳新鹏城上半场踢得很差,只有1次射门。不过,率先进球的却是深圳新鹏城。德-列昂索在第49分钟低射破门。关键时刻,深圳新鹏城送给武汉三镇一个点球机会。这成为了比赛的转折点。依靠这个点球机会,图多列帮助武汉三镇扳平比分。这粒进球提振了武汉三镇球员的士气。随后,帕拉西奥斯内切抽射破门。武汉三镇反超了比分。最后阶段深圳新鹏城背水一战,但缺少了一点运气,埃杜-加西亚的射门被门将神奇扑出。最终深圳新鹏城不得不接受1-2落败的结局。

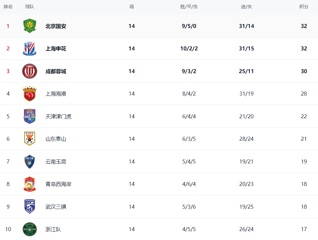
在积分榜上,占据榜首的是北京国安,9胜5平拿到32分。北京国安是中超唯一不败的球队,是夺冠大热门。上海申花也是32分,但净胜球劣势,只能排名第2。第3的是成都蓉城,拿到30分。上海海港这场比赛获胜之后,总积分达到28分,落后并不是太多。天津津门虎以21分排名第5。山东泰山21分排名第6。云南玉昆19分排名第7。青岛西海岸18分排名第8。武汉三镇赢球之后,总积分达到18分,超越浙江队,排名第9。
推荐新闻
-
U23国足以一场0-0,结束了预选赛,成功晋级U23亚洲杯正赛,对于这批年轻球员是一次很好的历练。中超联赛重燃战火,剩余7轮中超,国字号没有重要到比赛任务,各队可以安心的备战。9月12日20:00,中超第24轮焦点大...发表于:09月10日
-
近日,中国足协为中国男足招聘新主帅一事引发了关注。有媒体报道中透露,有三大顶级洋教有意国足帅位。消息一传出,也引来了球迷以及媒体的热议和关注。有多位名帅先后表达了对于执教中国男足的意愿。这其中就包...发表于:09月10日
-
中国足协已启动新一届男足国家队的选帅工作,选聘标准大致如下:1.有证2.原则60岁以下3.全职4.有国家队执教经历或亚洲、欧洲高水平联赛执教经历5.深刻把握现代高水平比赛技战术特点从外界媒体曝出的消息来看,现...发表于:09月10日
-
中超25赛季23轮赛程过后,积分榜前五依次是积50分的成都蓉城,积49分的上海申花,积48分的海港和国安,积40分的山东泰山。由于泰山队和前四名已拉开差距,不出意外,本赛季联赛冠军就会在这四队中诞生。客观分析...发表于:09月10日
-
北京时间9月10日,大连鲲城官方消息,球队外援穆谢奎家中再添丁,他已离华陪家人将缺席周末联赛。 大连鲲城官方写道:近日,大连鲲城队前锋穆谢奎家中再添新成员,恭喜大奎! 穆谢奎现...发表于:09月10日
-
9月10日,资深媒体人沈雷在《东方体育日报》发文,谈到了重庆铜梁龙前锋向余望在U23男足亚洲杯预赛中的挣扎表现。 该媒体人表示:在对阵东帝汶和北马里亚纳群岛的两场比赛里,向余望均首发出...发表于:09月10日
-
即使三场预选赛的过程不能令人满意,最终达到了目标就是成功,U23国足顺利晋级正赛,主教练安东尼奥压力得到了释放,战术层面他被调侃为“大脚尼奥”,进攻战术一塌糊涂,但能守住了也是本事,澳大利亚也忌惮U23...发表于:09月10日
-
中超联赛重燃战火,中超剩下最后7轮,4支球队争夺最终的冠军,国安上一场0-6惨败给了山东泰山队,不只是积分上进一步落后,更是让塞蒂恩遭到了质疑,再不干预他的排兵布阵,今年又交代了。伤病问题不断,斯帕伊奇...发表于:09月10日
-
这个中超间歇期,上海申花遭遇一个致命暴击,那就是锋线王牌外援安德烈-路易斯完成腰椎间盘微创手术,预计至少要伤停6周左右的时间。众所周知,本赛季中超仅剩下最后7轮,而中超争冠也已经进入到非常残酷的冲刺阶...发表于:09月10日
-
北京时间9月12日晚20:00,中超第24轮将上演一场引人关注的强强对话,近期状态爆棚的山东泰山客场对阵近期状态略显低迷的上海申花。在经过了刚接手后的一番磨合之后,代理主帅韩鹏渐渐在山东泰山找到了执教感觉,...发表于:09月10日
-
当中国足协发布国足主帅选聘公告仅四天后,一个熟悉的名字突然闯入公众视野——51岁的法比奥·卡纳瓦罗已正式提交竞聘材料。这位曾以球员身份捧起金球奖的世界杯冠军成员,如今带着59.85%的中超执教胜率与2019年...发表于:09月10日
-
“教练告诉我保持冷静,然后去破门。”——刘诚宇U22国足0-0战平澳大利亚U22,晋级U23亚洲杯决赛阶段,中超间歇期即将结束,联赛争冠与保级非常激烈,无欲无求的球队将扮演他们的生死判官。北京时间9月12日(周五...发表于:09月10日
-
昨晚的西安国际足球中心,33622名球迷见证了一场没有进球却“意义重大”的比赛。 中国U23男足用一场极具纪律性的0比0逼平小组最强对手澳大利亚队,锁定了一个成绩最好的小组第二名额,顺利拿到2026年沙特U23亚洲...发表于:09月10日
-
2026亚足联U23亚洲杯预选赛最后一轮,中国队迎来小组最强对手澳大利亚袋鼠军团。在前面两轮比赛,中国队和澳大利亚队都是两连胜,但澳大利亚以净胜球优势排名第一,中国队排名第二,本场比赛其实就是小组第一之争...发表于:09月10日
-
中超25赛季已有多家俱乐部完成换帅,包括长春亚泰、河南队、武汉三镇,梅州客家、深圳新鹏城,甚至是被动换帅的山东泰山。以上俱乐部,若从球队战绩,士气,状态等维度去评估换帅效果的话,换帅最成功的当属山东...发表于:09月10日
-
从“匆匆过客”到“毛遂自荐”,卡纳瓦罗与中国男足的缘分似乎远未结束。中国足协官方于9月5日发布公告,公开选聘国足主帅,目标是持续提升国家男子足球队竞技水平和国际足联排名,完成2030年世界杯参赛目标任务...发表于:09月10日
-
近日,申花俱乐部宣布,主力中锋路易斯因伤停赛六周,这一消息让球队面临了前所未有的挑战。在此情况下,申花只剩下刘诚宇可以派上阵,但他并非纯正的中锋。同时,韩嘉文和王汉龙两位年轻小将还显得经验不足,令...发表于:09月10日
-
北京时间9月12日晚19:35,中超联赛第24轮将上演一场引人关注的焦点之战,成都蓉城坐镇主场迎战本赛季状态持续低迷的长春亚泰。在上一轮4:1大胜卫冕冠军上海海港之后,成都蓉城一举反超争冠最大热门上海申花,抢...发表于:09月10日
-
目前中超联赛还在火热进行,其中山东泰山最近势头还是不错的,在联赛中取得了一波4连胜,尤其是主场6-0复仇国安的比赛,无疑是让球队的士气得到了极大得提升,也是让球迷更加期待泰山队下赛季的表现了,不过泰山...发表于:09月10日
-
昨天,成都蓉城举办了媒体开放日活动,邀请球迷和足球媒体人参观球队训练。成都蓉城俱乐部的老总与球迷及足球媒体人进行交流,就俱乐部未来的投入、球员和教练的续约,以及亚冠联赛和中超联赛的取舍进行了详细说...发表于:09月10日
录像/集錦
- 足球
- 篮球
热门标签
- 足球
- 篮球
中超 北京国安 长春亚泰 河南建业 山东泰山 天津津门虎 浙江 上海申花 广州(已退出) 江苏苏宁(已退出) 北京人和(已退出) 深圳凤凰(已退出) 上海特莱士 天津权健(已退出) 武汉三镇 深圳佳兆业(已退出) 辽宁沈阳宏运(已退出) 大连实德(已退出) 四川冠城(已退出) 青岛海牛 重庆力帆(已退出)
英超 利物浦 切尔西 曼联 阿森纳 托特纳姆热刺 曼城 莱斯特城 纽卡斯尔联 斯托克城 伯明翰 富勒姆 斯旺西 维冈竞技 埃弗顿 南安普顿 狼队 西汉姆联 布莱顿 阿斯顿维拉 诺维奇
德甲 沙尔克04 云达不莱梅 斯图加特 拜仁慕尼黑 沃尔夫斯堡 勒沃库森 多特蒙德 门兴格拉德巴赫 RB莱比锡 霍芬海姆 法兰克福 柏林联合 汉诺威96 弗赖堡 奥格斯堡 美因茨 科隆 柏林赫塔 凯泽斯劳滕 卡尔斯鲁厄
法甲 马赛 里昂 波尔多 欧塞尔 里尔 巴黎圣日耳曼 蒙彼利埃 摩纳哥 雷恩 朗斯 圣埃蒂安 甘冈 尼斯 南特 图卢兹 梅斯 戛纳 斯特拉斯堡 马蒂格 勒阿弗尔
西甲 瓦伦西亚 皇家马德里 巴塞罗那 塞维利亚 马德里竞技 比利亚雷亚尔 马拉加 皇家社会 毕尔巴鄂竞技 赫塔费 莱万特 皇家贝蒂斯 塞尔塔 西班牙人 格拉纳达 拉科鲁尼亚 萨拉戈萨 桑坦德竞技 皇家奥维耶多 特内里费
意甲 拉齐奥 AC米兰 罗马 国际米兰 佛罗伦萨 尤文图斯 那不勒斯 亚特兰大 巴勒莫 桑普多利亚 乌迪内斯 都灵 萨索洛 帕尔马 福贾 克雷莫内塞 热那亚 卡利亚里 雷吉亚纳 皮亚琴察
欧洲杯 格鲁吉亚 拉脱维亚 北马其顿 苏格兰 阿尔巴尼亚 芬兰 匈牙利 希腊 挪威 保加利亚 斯洛文尼亚 塞尔维亚 罗马尼亚 乌克兰 捷克 斯洛伐克 瑞典 俄罗斯 土耳其 奥地利
